最近越来越多的客户关注货架的结构承载安全,委托我们进行结构计算。大部分项目已经安装完工等待验收,甚至是已经放上货投入使用。然而实际发现货架存在很多问题,导致结构计算通不过承载校核,甚至是设计的货架根本就不是结构,而是一个机构,连计算的必要性都没有,一看就不过。(注:“结构”能承受一定荷载,“机构”是结构的反义词,不能承受任何荷载)。
货架主要承受竖向的货物荷载,这句话没有问题,所以立柱要设计得足够强。但是硬生生地把立柱竖直向下压坏,这种情况还是比较少见的,货架倒塌主要的诱因还是在于水平荷载。不考虑地震就没有水平荷载了吗?错。首先搬运设备正常操作对货架有水平荷载作用,其次立柱永远不可能安装得绝 对竖直,总会有倾斜,一旦放上货物,就会产生一个水平分力作用在货架上。在水平荷载作用下,货架是否会产生较大的侧向变形?如果是,那么立柱的承载能力就下降得多;如果否,那么立柱的承载能力就下降得少。货架侧向变形与组成货架的所有部件都相关。也就是说,立柱的承载力不仅仅与其本身的强弱有关,还与货架其他构件息息相关。举个恰当的例子,即使让一名巅 峰时期的世界一 流球员归化,国足还是出不了线。
以下是遇到的几个影响货架侧向变形的典型问题,请诸位货架设计人员多多留意。
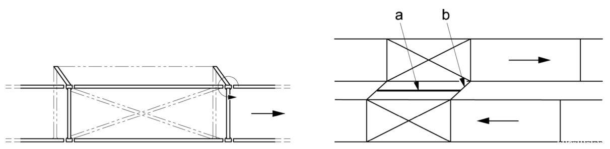
背拉杆是最有效的抵抗货架侧向变形的构件,俗称抗侧力构件。关于背拉杆的设置,在立体库货架拉杆(支撑)体系设置要求一文中有详细的分析。见得最多的背拉杆体系如下图所示,从背部立柱伸出一段悬臂连杆,连杆上拉几道交叉拉杆。先说结论,这种设置就等于没有设置,所以结构计算时就不能考虑背拉杆的作用。说实话,图中设置还算是好的,没有踩中所有雷点,至少它背拉杆接地了,至少它悬臂连杆连在梁柱交点位置而不是立柱层高中间位置。但是由于货架与交叉拉杆之间存在一定偏心距离(即悬臂连杆长度),导致货架侧向很容易变形。不要指望货架侧向变形一点后背拉杆能通过悬臂连杆把它拉住,真到那个时候货架早已经塌了。
典型无效背拉杆设置
无效背拉杆货架变形
背拉杆设置应:
1. 货架与背拉杆之间应该有有效的水平传力方式,比如水平交叉拉杆或水平贴板,仅仅悬臂连杆是不够的;
2. 应在背拉杆上下端高度处设置水平传力构件,水平传力构件应该从货架最内侧一直布置到背拉杆位置;
3.较可靠的方式是设置加强立柱支承住悬臂连杆的另一端,并设置背拉杆平构件将左右两个悬臂连杆连接起来,与货架横梁形成一矩形框,框对角线设置水平交叉拉杆;
4.背拉杆应接地;
5.悬臂连杆应靠近梁柱节点处而不是上下横梁之间立柱中间位置。
对于不设置背拉杆的货架,比如普通横梁式货架,在构件规格已定的情况下,节点提供了主要的抵抗侧向变形贡献。传统的挂片连接方式,梁柱节点是半刚性,有一定的刚度,需要测试获得。但是需要注意的是,如果横梁与立柱通过螺栓连接,并且螺栓在横梁截面范围内,那么梁柱节点刚度很小,在结构上会简化为铰接,抵抗侧向变形的作用降低到可以忽略。
螺栓连接的梁柱节点
柱脚节点最主要的问题就是单螺杆可调柱脚的滥用,见单螺杆可调式柱脚——货架倒塌的开始?一文。同理,单螺杆柱脚节点刚度很小,在结构上会简化为铰接,抵抗侧向变形的作用降低到可以忽略。
如果以上三种情况同时出现在一个结构中,那么,这个结构就沦落为机构,倒塌的风险大大增加。
本站的原创文章,请转载时务必注明出处:稳图WESAFE,不尊重原创的行为我们将追究责任。