
货架的18luck
一般分两步:第一步结构分析,建立结构分析模型(能力太强的人用手算,但也仅算算小项目,有个几十上百根构件就需要借助有限元软件了),将各种荷载与组合施加在模型上,计算得到各个构件与节点所分担的力(对单根构件而言力在它内部,就叫它内力吧,就是荷载引起的效应);第二步构件设计,构件或节点能承受得住这些内力吗?别整成内伤。所以要根据构件或节点的材料、规格、约束等自身特性,计算出它的承载能力。不好计算怎么办?测试呗!货架就是一种必须通过测试辅助设计的复杂结构(件)。如果承载能力不小于内力,那么说明设计合格了。
结构分析模型与基本假定应能在保证精度的前提下,反映货架在相应极限状态下的结构行为,并能反映截面、构件与节点的预期行为。
1. 节点模型
应考虑节点的特性。
1)如果立柱拼接节点具有等同于或高于较弱拼接立柱的转动刚度、弯曲承载力与强度,那么在整体结构分析中可以忽略节点效应(即认为立柱连续)。
2)梁柱节点的松动和立柱组撑杆节点的松动应在相应节点特性中或者作为附加缺陷予以考虑。
3)只要节点特性是基于测试的结果并证明具有足够的转动能力,结构分析中就可以使用非线性节点特性。或者,如果形成塑性铰的截面满足相关规范规定的塑性设计的准则(包括延性要求),那么也可以采用弹塑性分析。
4)如果采用用弹簧模拟梁柱节点的结构模型,梁端弯矩可以考虑立柱的有限宽度进行修正。或者可以在模型中立柱左右两个半宽范围内设置刚性单元模拟。
1.1 梁柱节点的弯矩-转角特性
梁柱节点(梁端连接件)的弯矩-转角特性应通过测试获取,再根据测试数据确定弯曲刚度与承载力的设计值。
1.2 柱脚节点的弯矩-转角特性
柱脚节点可假定为铰接节点,即刚度为零。
在沿巷道方向,如果货架满载率不低于50%,那么带柱底板样式的柱脚节点的刚度可假定为EIeq/h每弧度,其中:
EIeq为立柱沿巷道方向的弯曲刚度;
h为第一层横梁离地高度,不小于1m。
如果结构分析中采用较高的柱脚节点刚度,那么应根据规范通过测试确定。
1.3 支撑偏心
应考虑支撑构件的偏心,除非满足以下条件:
a) 水平构件与倾斜构件的中心线或相邻倾斜构件与倾斜构件的中心线交点,偏心不超过竖向偏差e,沿巷道方向见下图a),垂直于巷道方向见下图b)。
b) 偏心c1不大于2.0倍立柱截面宽度,且c2不大于1.5倍的立柱截面深度,见下图b)。当横梁作为水平连杆使用时,交点应取为倾斜构件中心线与横梁上翼缘线或下翼缘线的交点。
注:斜撑杆与水平面的倾角宜为20°~70°。
对于地震荷载、风荷载和背挡荷载,偏心效应超过5%时应考虑偏心影响。
作为保守的方法,偏心影响可按MEd/MRd估计。
MEd为偏心引起的局部弯矩;
MRd为立柱弯曲承载力。

图1 偏心
1.4 梁柱节点偏心
偏心e(见下图)造成的影响超过5%时,应考虑。
作为保守的方法,偏心影响可按MEd/MRd估计。
MEd为偏心引起的局部弯矩;
MRd为立柱弯曲承载力。

图2 垂直于巷道方向的偏心
2. 地坪与结构的相互作用
货架供应商应提供作用在地坪上的力。
2.1 地坪参数
除非另行制定,货架设计者可假定:
-混凝土等级最低C20/25。
-地坪满足下面2.2条的限值要求。
-地坪的结构层厚度(不包括任何砂浆层)符合立柱、立柱防撞件、侧向支撑系统等在锚固设计中假设的厚度要求。
-无伸缩缝。
2.2 组装式货架地坪变形限值
如果地坪转角(ΦFloor)小于表1给出的限值,那么可以认为地坪是刚性基础,在货架设计中无需考虑地坪变形的影响。
如果地坪变形超过了规定限值,那么仅需考虑超过部分的影响。
表1 准刚性地坪变形限值


图3 地坪与货架变形相互关系示例
2.3 焊接式货架地坪变形限值
对于所有焊接式货架,地坪变形超过ΦFloor=1/2000的部分应在设计中予以考虑。
2.4 结构分析中考虑地坪变形的方法
方法一:货架与地坪一起建模。
方法二:与地坪设计者合作,反复计算。在货架设计中考虑柱脚处的地坪变形,计算货架施加在地坪的作用力,地坪设计者据此重新计算地坪变形。货架设计者再根据新计算得到的地坪变形重新计算。重复这一过程直至连续变形的误差小于5%,设计达到收敛。
方法三:如果货架立柱组在垂直于巷道方向没有连成一体(比如没有巷道顶拉杆或楼板之类,见图3),那么此方向的结构分析可以将地坪转角引起的倾斜与货架安装的初始倾斜加在一起,作为立柱组的整体倾斜考虑。
如果货架在地坪上的具体位置是确定的,那么结构分析应基于此具体位置,否则应考虑货架相对于变形地坪的最不利位置,见图4。

图4 施加的镜像地坪转动变形
3. 建筑结构支撑的货架
如果货架侧向由建筑结构支撑,那么应进行货架与建筑的交互设计。两种结构会相互施加作用力,作用力的大小取决于两种结构各自的侧向刚度。
结构分析中应考虑以下缺陷的影响:
a)无支撑货架沿巷道方向的整体倾斜缺陷。
b)有支撑货架的整体倾斜缺陷。
c)局部支撑缺陷。
d)构件缺陷。
整体缺陷与构件缺陷的假定特征形状可从结构在所考虑的屈曲平面内的弹性屈曲模态中获得。
1. 整体缺陷
整体结构分析中应通过初始倾斜或一组等效侧向水平力来考虑整体缺陷的影响。
初始整体倾斜缺陷,对应承载能力极限状态的Φuls与对应正常使用极限状态的Φsls,应按照表2确定。
表2 整体缺陷

理论计算:立柱组松动
立柱组横斜撑杆类型
为了计算立柱组撑杆节点松动,确定了两种主要的撑杆体系样式:
样式A(见图a):
—斜撑杆在不同高度与立柱连接。
—斜撑杆为对称连接。
样式B(见图b):
—斜撑杆在同一高度与立柱连接。
—斜撑杆为非对称连接。

图5 立柱组撑杆节点
松动
松动角度Φl,fr可由下式计算:


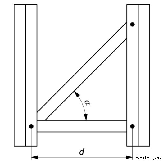
图6 d与α示意图
2. 部分支撑货架沿巷道方向的整体倾斜缺陷
货架的支撑部分与无支撑部分应按照以上内容分别考虑,见图7。

图7 全部支撑与部分支撑货架的整体缺陷
3. 局部支撑缺陷
局部支撑缺陷产生的一组自平衡力(见图8),仅用于连系梁、竖向支撑构件与水平支撑构件以及相应节点的设计。一阶分析即可。

图8 局部支撑缺陷
对于无拼接立柱段,Φ0=1/400;
对于有拼接立柱段,Φ0=1/200。

4. 构件缺陷
构件缺陷对构件设计的影响应通过适当的屈曲系数或在整体结构分析中施加初始弯曲来考虑,这取决于所采用的结构分析方法。
下篇将讲述货架结构设计:结构分析的不同方法及选用。
本站的原创文章,请转载时务必注明出处:稳图WESAFE,不尊重原创的行为我们将追究责任。

