
中国钢结构协会钢结构质量安全检测鉴定专业委员会团体标准《货架钢结构工程检测与评定专项规程》正在如(忙)火(里)如(偷)荼(闲)地编制中。材料的检测与评定、构件的检测与评定、连接和节点的检测与评定三章新鲜出炉,分享给大家,请多提建议。
4 材料的检测与评定
4.1.1 对既有货架钢结构构件、紧固件等的材料性能进行检测与评定时,当材料性能有可靠记录时,可不再检测;当材料的性能存在疑问时,应进行检测。
4.1.2 当被检验材料的性能指标随时间变化的影响可以忽略不计时,可按下列情况之一确定材料的性能指标:
1 经调查当有可靠的材料质量实测记录资料时,可按原记录资料确定材料的性能指标;
2 当工程尚有拟评定结构构件的余料时,可对其余料进行检验,确定材料的性能指标,否则应现场取样实测。
4.1.3 当结构工作环境与原设计状态比无明显变化,未曾发生材料劣化、损坏现象或迹象时,可按下列原则进行组批检测:
1 对于钢材,同种构件、同规格为一个检验批;
2 对于连接紧固件和其他节点连接材料,同种构件中的同规格零部件为一个检验批。
4.1.4 由于累积损伤、腐蚀及灾害等原因可能造成材料性质发生改变时,应在评定对象上取样检验;进行检验组分批时,应考虑致损条件、损伤程度的同一性。
4.1.5 当钢结构材料发生烧损、变形、断裂、腐蚀或其他损伤时,宜进行金相检测。
4.1.6 对货架钢结构材料现场取样,应根据检测内容和目的确定取样部位、取样数量和样品尺寸,并保证样品具有代表性。在结构上进行材料取样之前,应记录取样的具体位置、样品尺寸和形状、构件表面原始状态等信息。现场取样的方法或措施,应保证不影响试样材料的原有性能。抽取试样、制作试样及复验检测应由专业单位执行。
4.2.1 钢材力学性能的检测项目应包括:屈服强度、抗拉强度、断后伸长率或断面收缩率、冷弯性能、冲击韧性,所选检测项目应根据结构和材料的实际情况及评定需求确定。应优先釆用在结构构件上直接取样进行试验检测,也可采用其他无损或微损方法进行检测。
4.2.2 螺栓连接副力学性能的检测项目应包括:螺栓材料性能、螺母和垫圈硬度。普通螺栓尚应包括螺栓实物最小拉力载荷检验。
4.2.3 钢结构材料力学性能检验试件的取样数量、取样方法、试验方法和评定依据应符合表4.2.3的规定。当检验结果与调查获得的钢材力学性能基本参数信息不相符时,应加倍抽样检验。
表4.2.3 钢结构材料力学性能检验项目、试验方法和评定依据
检验项目 | 最少取样数量 | 试验方法 | 评定依据 |
屈服强度 规定非比例延伸强度 抗拉强度 断后伸长率 断面收缩率 | 3 | 《金属材料拉伸试验第1部分:室温试验方法》GB/T 228.1 | 《低合金高强度结构钢》GB/T 1591; 《碳素结构钢》GB/T 700 |
冷弯 | 2 | 《金属材料弯曲试验方法》GB/T 232 | |
冲击韧性 | 3 | 《金属材料夏比摆锤冲击试验方法》GB/T 229 |
4.2.4 钢结构紧固件力学性能检验试件的取样数量、试验方法和评定依据应符合表4.2.4的规定。
表4.2.4 钢结构紧固件力学性能检验项目、试验方法和评定依据
检验项目 | 最少取样数量 | 试验方法 | 评定依据 |
螺栓楔负载 螺母保证载荷 螺母和垫圈硬度 | 3 | 《钢结构用高强度大六角头螺栓、大六角螺母、垫圈技术条件》GB/T 1231; 《钢结构用扭剪型高强度螺栓连接副》GB/T 3632; 《钢网架螺栓球节点用高强度螺栓》GB/T 16939 | 《钢结构用高强度大六角头螺栓、大六角螺母、垫圈技术条件》GB/T 1231; 《钢结构用扭剪型高强度螺栓连接副》GB/T 3632; 《钢网架螺栓球节点用高强度螺栓》GB/T 16939; 《钢结构工程施工质量验收规范》GB 50205 |
螺栓实物最小载荷及硬度 | 《紧固件机械性能螺栓、螺钉和螺柱》GB/T 3098.1; 《紧固件机械性能螺母》GB/T 3098.2 | 《紧固件机械性能螺栓、螺钉和螺柱》GB/T 3098.1; 《紧固件机械性能螺母》GB/T 3098.2; 《钢结构工程施工质量對收规范》GB 50205 |
4.2.5 未知牌号钢材的抗拉力学性能应试验确定,每个检验批抽取的试样不应少于3个,并应根据试验结果最小值确定可参考的钢材牌号并推定其性能指标。当根据试验结果无法确定钢材牌号时,该检验批钢材的强度设计值可按屈服强度试验结果最低值的0.85倍确定。
4.2.6 对国产钢材的品种、规格、力学性能应按设计要求进行评定;对进口钢材的力学性能应按设计和合同规定的标准进行评定,并提供详细的实际检测结果。
4.3.1 钢结构原材料化学分析的取样批量、取样方法、评定依据及允许偏差应符合表4.3.1的规定。
表4.3.1 钢结构材料化学分析取样数量及方法
材料种类 | 取样数量(个/批) | 取样方法及成品 化学成分允许偏差 | 评定依据 |
钢板 钢带 型钢 | 1 | 《钢和铁化学成分测定用试样的取样和制样方法》GB/T 20066; 《钢的成品化学成分允许偏差》GB/T 222 | 《碳素结构钢》GB/T 700; 《低合金髙强度结构钢》GB/T 1591 |
钢丝 钢丝绳 | 1 | 《钢和铁化学成分测定用试样的取样和制样方法》GB/T 20066; 《钢的成品化学成分允许偏差》GB/T 222; 《钢税验收、包装、标志及质量证明书的一般规定》GB/T 2103 | 《低碳钢热轧圆盘条》GB/T 701;《焊接用钢盘条》GB/T 3429;《焊接用不锈钢盘条》GB/T 4241;《熔化焊用钢丝》GB/T 14957 |
钢管 | 1 | 《钢的成品化学成分允许偏差»GB/T 222; 《钢和铁化学成分测定用试样的取样和制样方法》GB/T 20066 | 《结构用不锈钢无缝钢管》GB/T 14975; 《结构用无缝钢管》GB/T 8162; 《直缝电焊钢管》GB/T 13793 |
4.3.2 由于事故、灾害等原因,钢材材质可能有变化或某元素含量发生变化时,应取样进行化学分析。取样方法、评定依据及成品化学成分允许偏差应符合本标准表4.3.1的规定。
4.3.3 当不能确定被检钢材是否符合对应的国家现行产品标准时,应进行化学分析。
5 构件的检测与评定
5.1.1 钢构件宜划分为柱构件、梁构件、杆构件、板构件和柔性构件。
5.1.2 钢构件的检测内容应包括:几何尺寸制作偏差、安装偏差、变形、缺陷与损伤、涂装和腐蚀。如有工程施工图,应复核设计图纸和现场检测的一致性。
5.1.3 钢构件检测抽样数量可根据检测项目的特点,按下列原则确定:
1 构件几何尺寸制作偏差、安装偏差、变形、涂装,应根据现场实际情况确定抽样数量与位置。按构件种类组批进行抽样检测时,最小样本容量宜符合表5.1.3的规定。
表5.1.3 货架钢结构抽样检测的最小样本容量
检验批的容量 | 最小样本容量 | 检验批的容量 | 最小样本容量 |
3~8 | 2 | 501~1200 | 32 |
9~15 | 2 | 1201~3200 | 50 |
16~25 | 3 | 3201~10000 | 80 |
26~50 | 5 | 10001~35000 | 125 |
51~90 | 5 | 35001~150000 | 200 |
91~150 | 8 | 150001~500000 | 315 |
151~280 | 13 | >500000 | 500 |
281~500 | 20 | - | - |
2 构件缺陷与损伤、腐蚀,应全数检测。对于既有货架钢结构,当单次无法全数检测时,可制定方案,在约定周期内多次检测完成。
5.1.4 对于下列情况,检测对象可以是单个构件或部分构件,但检测结论不得扩大到未检测的构件或范围:
1 委托方指定的检测对象或范围;
2 因环境侵蚀或火灾、水灾、爆炸、高温以及人为等因素造成部分损伤的构件。
5.1.5 钢构件的检测采用观察、测量,必要时可进行取样检测及构件试验。
5.2.1 钢构件几何尺寸制作偏差的检测应符合下列规定:
1 构件的几何尺寸应包括:构件钢材厚度、构件横截面尺寸、构件轴线或中心线尺寸、构件直线度、构件扭转度、构件板件平整度;
2 几何尺寸检测应在构件的3个不同部位进行测量,取3处实测值的平均值作为该尺寸的代表值;
3 尺寸测量可使用超声测厚仪、千分尺、游标卡尺、钢卷尺、钢直角尺、倾角仪、塞尺等仪器,按相关产品标准的规定量测。
5.2.2 钢构件的几何尺寸制作偏差应以最终设计文件规定的尺寸为基准进行计算,并应符合相应产品标准的规定。当无产品标准时:
1 构件钢材厚度偏差应符合现行国家标准《热轧钢板和钢带的尺寸、外形、重量及允许偏差》(GB/T 709)、《冷轧钢板和钢带的尺寸、外形、重量及允许偏差》(GB/T 708)的有关规定;
2 构件横截面尺寸偏差不应超过表5.2.2-1规定的极限偏差;
表5.2.2-1 构件横截面尺寸极限偏差(单位:毫米)
两侧与其他板件相连的板件(如C型钢截面的腹板) | |||||
构件壁厚 | 极限偏差 | ||||
≤40 | >40且≤100 | >100且≤200 | >200且≤400 | >400 | |
≤1.5 | ±0.50 | ±0.50 | ±0.75 | ±1.25 | - |
>1.5且≤3.0 | ±0.75 | ±0.75 | ±1.00 | ±1.50 | ±1.75 |
>3.0且≤6.0 | ±1.00 | ±1.00 | ±1.25 | ±1.75 | ±2.00 |
>6.0且≤8.0 | - | ±1.25 | ±1.50 | ±2.00 | ±2.50 |
一侧与其他板件相连一侧自由的板件(如C型钢截面的翼缘) | |||||
构件壁厚 | 极限偏差 | ||||
≤40 | >40且≤100 | >100且≤150 | >150且≤200 | >200 | |
≤1.5 | ±0.75 | ±0.75 | ±1.00 | - | - |
>1.5且≤3.0 | ±0.80 | ±1.00 | ±1.25 | ±1.50 | - |
>3.0且≤6.0 | ±1.00 | ±1.25 | ±1.50 | ±1.75 | ±2.00 |
>6.0且≤8.0 | ±1.25 | ±1.50 | ±1.75 | ±2.00 | ±2.25 |
3 构件轴线或中心线尺寸偏差不应超过表5.2.2-2规定的极限偏差;
表5.2.2-2 构件轴线或中心线尺寸极限偏差(单位:毫米)
名义长度 | 极限偏差 |
≤2000 | ±0.5 |
>2000且≤6000 | ±1.0 |
>6000且≤10000 | ±1.5 |
>10000且≤15000 | ±2.0 |
>15000 | ±3.0 |
4 构件直线度不应超过1/1000;
5 构件扭转度不应超过1°/米;
6 构件板件平整度不应超过板件名义尺寸的1/125与0.5mm之较大值,如图5.2.2所示。

图5.2.2 构件板件平整度偏差
5.2.3 钢构件质量按几何尺寸制作偏差可评定为a级、b级、c级三个等级。
1 a级:检测项的偏差全部满足本标准的要求;
2 b级:检测项的偏差至少有一项不满足本标准的要求,所有不满足项应有80%及以上的检测构件满足本标准的要求,且最大值(或最小值)不应超过其极限偏差值的1.2倍;
3 c级:除a级与b级外的其他情况。
5.3.1 钢构件安装偏差的检测应符合下列规定:
1 构件的安装偏差可使用钢卷尺、钢直角尺、倾角仪、激光测距仪、水准仪、经纬仪、全站仪、三维激光扫描仪等仪器,按照合理方法步骤进行量测;
2 水平构件的安装偏差检测宜选取构件支座及跨中的若干点作为测点,测量构件支座与跨中的相对高差,利用该相对高差计算构件的挠度;
3 竖向构件的弯曲度、垂直度等参数,宜测定构件顶部相对于底部的水平位移,计算倾斜度。
5.3.2 钢构件的安装偏差应以最终设计文件为基准进行计算,并应符合相应产品标准的规定。当无产品标准时:
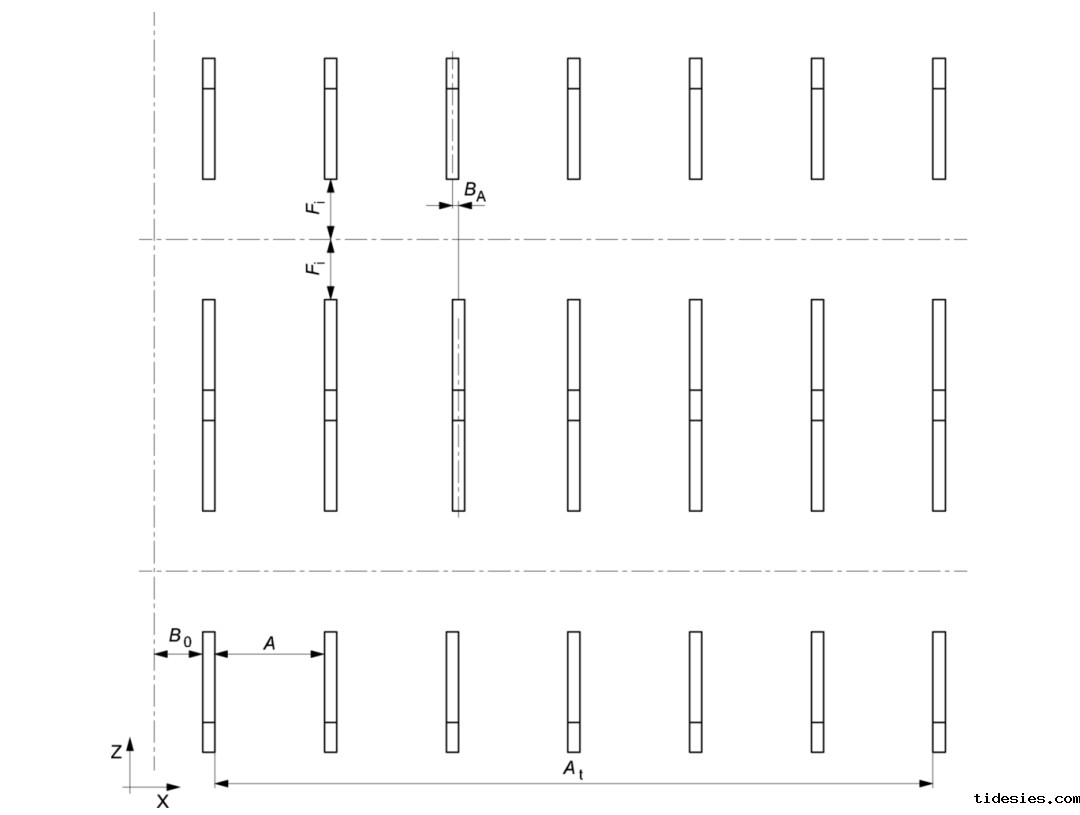
1 横梁式货架与窄巷式货架的安装偏差不应超过表5.3.2-1、图5.3.2-1与图5.3.2-2规定的极限偏差;
表5.3.2-1 横梁式货架与窄巷式货架安装极限偏差(单位:毫米)
水平方向(XZ平面内)极限偏差 | ||
尺寸测量规则与描述 | 横梁式货架 | 窄巷式货架 |
δA任意层高处两立柱净距偏差 | ±3 | ±3 |
δAt靠近地坪处n跨货架总长累计偏差 | ±3n | ±3n |
B垂直巷道方向对应立柱的错位,随跨数n累计,在靠近地坪处测量; 人上式:仅巷道两侧立柱适用 人下式:巷道两侧立柱与背部立柱都适用 | 不适用 | 以下较大值: ±10或 ±1.0n(人上式) ±0.5n(人下式) |
δB0货架端部相对于Z向基准线的偏差,在靠近地坪处测量 | ±10 | ±10 |
BF立柱组两立柱的错位(全高) | 40 | 不适用 |
Cx货架立柱X方向倾斜程度(垂直度) | ±H/500 | ±H/750 |
Cz货架立柱Z方向倾斜程度(垂直度) | ±H/500 | ±H/750 |
δD立柱组宽度偏差 | ±6 | 单排±3,双排±6 |
δE靠近地坪处货架巷道宽度偏差 | ±15 | ±5 |
δE1侧导轨间距偏差 | 不适用 | 沿总长0/+5 最大变化率2mm/m |
δE2侧导轨与立柱间距偏差 | 不适用 | ±5 |
δF巷道沿X向基准线直线度偏差,在靠近地坪处测量 | ±15 | ±10 |
F1相邻立柱Z向偏差,在靠近地坪处测量 | 不适用 | ±5 |
GZ横梁Z向直线度偏差 | ±A/400 | ±A/400 |
JX间距HB的两横梁之间的立柱沿X向的直线度偏差 | ±3与±HB/400较大值 | ±3与±HB/750较大值 |
JZ立柱沿Z向的初始弯曲 | ±H/500 | ±H/500 |
δM顶部导轨偏差 | 不适用 | 由规划者或叉车供应商确定 |
Tw横梁跨中扭转(每米) | 1° | 1° |
竖直方向(Y向)极限偏差 | ||
尺寸测量规则与描述 | 横梁式货架 | 窄巷式货架 |
以下较大值 | ||
Gy横梁沿Y向的直线度偏差 | ±3或±A/500 | ±3或±A/500 |
δH1A底层横梁上表面距柱脚底板距离偏差 | ±10 | ±7 |
δH1任意层横梁上表面距底层横梁距离偏差 | ±5或±H1/500 | 人上式:±5或±H1/500 人下式:±3或±H1/1000 |
δH3顶部导轨公差 | 不适用 | 由规划者或叉车供应商确定 |
Hy同一货格内前后横梁高度偏差 | ±10 | ±10 |

图5.3.2-1 横梁式货架安装偏差

图5.3.2-2 窄巷式货架安装偏差
2 驶入式货架的安装偏差不应超过表5.3.2-2与图5.3.2-3规定的极限偏差;
表5.3.2-2 驶入式货架安装极限偏差(单位:毫米)
尺寸测量规则与描述 | 极限偏差 |
δAT单条驶入车道宽度尺寸偏差(顶部) | ±1.5 |
δAB单条驶入车道宽度尺寸偏差(底部) | ±5.0 |
δA(n)沿外部巷道方向n条驶入车道宽度尺寸累计偏差(顶部或底部) | ±2.0n |
δE立柱组沿外部巷道方向的同轴度偏差(顶部与底部分开测量) | ±3.0 |
Cx货架立柱沿驶入车道方向倾斜程度(垂直度) | ±H/500 |
Cz货架立柱垂直于驶入车道方向倾斜程度(垂直度) | ±H/500 |
δD货架深度尺寸偏差 | ±5.0每立柱组 |
JZ立柱沿垂直于驶入车道方向的初始弯曲 | ±H/1000 |
L牛腿层高偏差 | ±Li/250 |
M同一储位左右牛腿高度偏差 | ±6.0 |

图5.3.2-3 驶入式货架安装偏差
3 悬臂式货架的安装偏差不应超过表5.3.2-3与图5.3.2-4规定的极限偏差;
表5.3.2-3 悬臂式货架安装极限偏差(单位:毫米)
水平方向(XZ平面内)极限偏差 | |
尺寸测量规则与描述 | 极限偏差 |
δA任意层高处单跨两立柱净距尺寸偏差 | ±5 |
δAt靠近地坪处n跨货架总长累计偏差 | ±3n |
δB0货架端部相对于Z向基准线距离的偏差,在靠近地坪处测量 | ±10 |
BA巷道两侧相对立柱轴线偏差,在靠近地坪处测量 | ±25 |
Cx货架立柱X方向倾斜程度(垂直度) | ±H/500 |
Cz货架立柱Z方向倾斜程度(垂直度) | ±H/500 |
δD货架深度尺寸偏差 | ±6 |
δE靠近地坪处货架巷道宽度偏差 | ±15 |
δF巷道沿X向基准线直线度偏差,在靠近地坪处测量 | ±15 |
GX悬臂梁或底座沿X向直线度偏差 | ±L/100 |
JX间距HB的两支撑梁之间的立柱沿X向的直线度偏差 | ±5与±HB/300较大值 |
JZ立柱沿Z向的初始弯曲 | ±H/500 |
竖直方向(Y向)极限偏差 | |
Gy悬臂梁沿Y向的直线度偏差 | ±L/250 |
δH1A相邻底座上表面高度偏差 | ±5 |
δH1底层悬臂梁上表面距底座高度偏差 | ±10 |
δH2相邻悬臂梁间高度偏差 | ±10 |

(a) 立面图

(b) 平面图
图5.3.2-4 悬臂式货架安装偏差
4 自动化立体仓库货架的安装偏差应符合现行行业标准《立体仓库组合式钢结构货架 技术条件》(JB/T 11270)、《立体仓库焊接式钢结构货架 技术条件》(JB/T 5323)的有关规定;
5 阁楼式货架的安装偏差应符合现行国家标准《阁楼式货架》(GB/T 30675)的有关规定;
6 其他类型货架的安装偏差可参考以上规定。
5.3.3 钢构件质量按安装偏差可评定为a级、b级、c级三个等级。
1 a级:检测项的偏差全部满足本标准的要求;
2 b级:检测项的偏差至少有一项不满足本标准的要求,所有不满足项应有80%及以上的检测构件满足本标准的要求,且最大值(或最小值)不应超过其极限偏差值的1.2倍;
3 c级:除a级与b级外的其他情况。
5.4.1 钢构件变形的检测应符合下列规定:
1 构件的变形应包括:垂直度、挠度等项目;
2 构件的变形测量可采用水准仪、经纬仪、全站仪或三维扫描仪等仪器,按照合理方法步骤进行量测;
3 垂直度、挠度应根据测点间相对位置差计算。
5.4.2 钢构件的变形应符合相应产品标准的规定。当无产品标准时:
1 立柱垂直度不应超过表5.4.2-1规定的限值;
表5.4.2-1 货架立柱垂直度限值
货架类型 | 整体垂直度 | 层间位移角 | ||
货架满载率80%以上承载 | 货架承载后空载 | 货架满载率80%以下承载 | ||
横梁式货架 | 1/160 | 1/330 | 线性插值 | 1/150 |
窄巷式货架 | 1/180 | 1/430 | 线性插值 | 1/170 |
驶入式货架 | 1/200 | 1/500 | 线性插值 | 1/190 |
穿梭车货架 | 1/160 | 1/330 | 线性插值 | 1/150 |
后推式货架 | 1/160 | 1/330 | 线性插值 | 1/150 |
重力式货架 | 1/160 | 1/330 | 线性插值 | 1/150 |
悬臂式货架 | 1/160 | 1/330 | 线性插值 | 1/150 |
阁楼式货架 | 1/160 | 1/330 | 线性插值 | 1/150 |
自动化立体库货架 | 1/1000 | 1/1000 | 线性插值 | 1/940 |
2 承载梁挠度不应超过表5.4.2-2规定的限值;
表5.4.2-2 货架承载梁挠度限值
货架类型 | 满载挠度 | 备注 |
横梁式货架 | L/200 | L为跨度 |
窄巷式货架 | L/200&10mm | |
驶入式货架 | 10mm | |
穿梭车货架 | 10mm | |
后推式货架 | L/200 | |
重力式货架 | L/200 | |
悬臂式货架 | 1/180 | |
阁楼式货架 | L/250 | |
自动化立体库货架 | L/300&10mm |
5.4.3 钢构件质量按变形可评定为a级、b级、c级三个等级。
1 a级:检测项全部满足本标准的要求;
2 b级:检测项至少有一项不满足本标准的要求,所有不满足项应有90%及以上的检测构件满足本标准的要求,且最大值(或最小值)不应超过其极限偏差值的1.2倍,且功能无影响;
3 c级:除a级与b级外的其他情况。
5.5.1 钢构件缺陷与损伤检测的内容包括表面质量、损伤残余变形、腐蚀等项目,并应符合下列规定:
1 构件表面质量可采用目测法检测;
2 构件损伤残余变形可用观察和尺量的方法检测;
3 构件的腐蚀可按本标准第5.6节的规定进行检测。
5.5.2 钢构件表面不应有裂纹、折叠、夹层,钢材端边或端口处不应有分层、夹渣等缺陷。当钢构件表面有锈蚀、麻点或划伤等缺陷时,其深度不得大于钢钢材厚度负偏差值的1/2。
5.5.3 钢构件损伤残余变形应满足以下规定:
1 柱构件损伤后,局部屈曲模式的残余变形不应超过截面对应尺寸的1/10,畸变屈曲模式的残余变形不应超过变形部分构件长度的1/100,弯曲屈曲模式的残余变形,正面不应超过变形部分构件长度的3/1000,侧面不应超过变形部分构件长度的5/1000,如图5.5.3所示。

图5.5.3 弯曲屈曲模式的残余变形
2 梁构件损伤后,局部屈曲模式的残余变形不应超过对应截面尺寸的1/10,弯曲屈曲模式的残余变形不应超过构件长度的1/500。
3 杆构件损伤后,弯曲屈曲模式的残余变形不应超过变形部分构件长度的1/100。
5.5.4 钢构件质量按缺陷和损伤可评定为a级、b级、c级三个等级。
1 a级:构件满足本标准的要求,对结构承载无影响;
2 b级:构件不满足本标准的要求,对结构承载有一定影响,如构件的定量检测项,最大值(或最小值)超过规定限值的1.0倍但不超过2.0倍;
3 c级:构件不满足本标准的要求,对结构承载有严重影响。
5.6.1 钢构件腐蚀检测的内容包括腐蚀损伤程度、腐蚀速度。
5.6.2 钢构件腐蚀损伤程度检测应符合下列规定:
1 检测前,应先清除待测表面积灰、油污、锈皮;
2 对均匀腐蚀情况,测量腐蚀损伤板件的厚度时,应沿其长度方向选取3个腐蚀较严重的区段,且每个区段选取8~10个检测点测量构件厚度,取各区段量测厚度的最小算术平均值。作为该板件实际厚度,腐蚀严重时,测点数应适当增加;
3 对局部腐蚀情况,测量腐蚀损伤板件的厚度时,应在其腐蚀最严重的部位选取1~2个截面,每个截面选取8~10个测点测量板件厚度,取各截面测量厚度的最小算术平均值,作为板件实际厚度,并记录测点的位置,腐蚀严重时,测点数可适当增加。
5.6.3 板件腐蚀损伤量应取初始厚度减去实际厚度。初始厚度应根据构件未腐蚀部分实测厚度确定。在没有未腐蚀部分的情况下,初始厚度应取下列两个计算值的较大者:
1 所有区段全部测点的算术平均值加上3倍的标准拆;
2 公称厚度减去允许负公差的绝对值。
5.6.4 钢构件后期的腐蚀速度可根据构件当前腐蚀程度、受腐蚀的时间以及最近腐蚀环境扰动等因素综合确定,并可结合结构的后续目标使用年限,判断构件在后续目标使用年限内的腐蚀残余厚度。
5.6.5 钢构件质量按腐蚀程度可评定为a级、b级、c级三个等级。
1 a级:防腐涂层完好或局部鼓起、但尚有光泽,钢材表面无腐蚀或轻度少量点状腐蚀;
2 b级:防腐涂层大面积剥落或鼓起,钢材表面呈麻面状锈蚀,平均锈蚀深度超过0.05倍的板件厚度;
3 c级:防腐涂层完全剥落,钢材严重腐蚀,发生层蚀、坑蚀现象,平均锈蚀深度超过0.1倍板件厚度。
5.7.1 钢构件涂装的检测应包括涂层外观质量、涂层厚度、涂层硬度与涂层附着力。
5.7.2 涂层外观质量检测可采用目测法。涂层不应有漏涂,表面不应存在脱皮、泛锈、龟裂和起泡等缺陷,不应出现裂缝,涂层应均匀、无明显皱皮、流坠、乳突、针眼和气泡等涂层与钢基材之间应粘结牢固,无空鼓、脱层、明显凹陷、粉化松散和浮浆等缺陷。
5.7.3 涂层厚度可采用涂层测厚仪检测。同一构件应检测5处,每处的数值为3个相距50mm测点涂层厚度的平均值。应按照现行国家标准《色漆和清漆 漆膜厚度的测定》(GB/T 13452.2)执行。涂层厚度应符合相应产品标准的规定。当无产品标准时,涂层厚度平均值不宜小于60μm,且最薄处不宜小于40μm。
5.7.4 涂层硬度可采用铅笔法检测。应按照现行国家标准《色漆和清漆 铅笔法测定漆膜硬度》(GB/T 6739)执行。涂层硬度应符合相应产品标准的规定。当无产品标准时,涂层硬度不宜低于GB/T 6739重对铅笔硬度H级的硬度。
5.7.5 涂层附着力可采用划格法检测。应按照现行国家标准《色漆和清漆 漆膜的划格试验》(GB/T 9286)执行。涂层附着力应符合相应产品标准的规定。当无产品标准时,涂层附着力不宜低于GB/T 9286中2级的要求。
5.7.6 钢构件质量按涂装可评定为a级、b级、c级三个等级。
1 a级:检测项全部满足本标准的要求;
2 b级:检测项至少有一项不满足本标准的要求,但不影响构件耐久性;
3 c级:除a级与b级外的其他情况。
5.8.1 构件试验,应根据设计、制作、安装、使用条件等,选择有代表性的构件进行。
5.8.2 下列情况应通过构件试验进行评定:
1 按现有计算手段尚不能准确做出评定;
2 验算缺少应由的参数,如约束条件、荷载取值等;
3 需要确定构件的实际承载能力。
5.8.3 根据要求构件试验可分为下列三类:
1 确定构件正常工作状态下工作性能的验证性试验;
2 确定构件设计承载能力的承载力试验;
3 确定构件极限承载能力的破坏试验。
5.8.4 构件的承载力试验可进行原型或足尺模型荷载试验,进行现场荷载试验的构件应具有代表性,试验前应制定详细的试验方案。试验方案可按附录A制定,并应在试验前征得有关各方同意。构件模拟试验,可以从原结构中取样,也可以按照构件的实际尺寸另行加工试样。从结构中取样时应确保原结构的安全;另行加工试样时应保持与原构件的相似性。
5.8.5 对构件进行试验难以模拟实际受力状态时,应采用数值方法模拟构件的受力性能。数值模拟应采用成熟的有限元软件进行,并应考虑构件的主要损伤和缺陷。
6 连接和节点的检测与评定
6.1.1 连接和节点的检测内容应包括:连接和节点的几何特征、缺陷变形与损伤、腐蚀状况、节点的功能状态以及材料性能。
6.1.2 连接和节点检测前,应清楚检测部位表面的油污、浮锈和其他杂物。
6.1.3 连接和节点的腐蚀与涂装防护,可按本标准第5.6节和第5.7节的规定进行检测。
6.1.4 下列情况下,连接和节点宜通过试验进行检测与评定:
1 按现有手段尚不能准确评定连接和节点的性能;
2 连接和节点验算缺少应有的参数。
6.2.1 焊缝检测的内容应包括焊缝质量、焊缝构造及其尺寸、焊缝腐蚀以及开裂状况。
6.2.2 焊缝检测的抽样应符合下列规定:
1 结构关键部位焊缝的检测,应全数普查和目测外观质量;
2 对外观质量检查有疑问的焊缝,应进行无损探伤,抽样比例不应少于2%,且不应少于3处;
3 焊缝长度每300mm应定义为1处,小于或等于300mm者,每条焊缝为1处;
4 抽样位置应覆盖结构的关键受力部位、大部分区域以及不同的焊缝形式。
6.2.3 焊缝质量检测内容应包括角焊缝的外观质量、对接焊缝的外观质量和内部缺陷。外观质量包括裂纹、咬边、根部收缩、弧坑、电弧擦伤、表面夹渣、焊缝饱满程度、表面气孔和腐蚀程度。检测应按下列要求进行:
1 焊缝外观质量检测,宜采用辅以放大镜的目测,当目测不能满足检测要求时,可采用磁粉探伤或渗透探伤;
2 对接焊缝内部质量检测,可采用超声波无损检测法;当超声波检测不适用时,可采用射线探伤检测。
6.2.4 焊缝尺寸应包括焊缝长度、焊缝余高,角焊缝尚应包括焊脚尺寸。测量焊缝余高和焊脚尺寸时,应沿每处焊缝长度方向均匀量测3点,取其算术平均值作为实际尺寸。焊缝的细部构造可采用目测检查。
6.2.5 对于严重腐蚀的焊缝,应检查焊缝截面的腐蚀程度、剩余焊缝的长度和高度。
6.3.1 螺栓连接检测的内容应包括连接的构造及尺寸、变形及损伤、腐蚀状况、螺栓等级。当不能确定等级时,可取样进行力学性能检验。
6.3.2 螺栓连接检测的方法宜为观察、锤击检查等方法。
6.3.3 螺栓连接检测的抽样应符合下列规定:
1 检测的抽样比例不应少于同类节点数的2%,且不应少于3个节点,抽查位置应覆盖结构的大部分区域以及不同连接形式的区域;同类节点总数不足10个时,应全数检查;每个抽查节点检测的螺栓数不应少于10%,且不应少于1个。
2 有损伤的节点和指定检测的节点,应全数检查。
6.3.4 螺栓连接的尺寸和构造的检测应包括:螺栓的规格、孔径、间距、边距,螺栓的质量等级、数量、排列方式,节点板尺寸和构造;高强度螺栓连接尚应包括螺母数量、螺栓头露出螺母的长度、节点板及母材的厚度。
6.3.5 螺栓连接的变形及损伤的检测应包括:螺杆断裂、弯曲,螺栓脱落、松动、滑移,连接板栓孔挤压破坏,腐蚀程度。
6.4.1 梁柱节点的检测内容应包括:挂片尺寸与定位、焊缝连接、螺栓连接、安全插销、安装偏差、变形与损伤、节点腐蚀状况。
6.4.2 梁柱节点检测的抽样应符合下列规定:
1 检测比例不应少于同类节点数的2%,且不应少于3个节点,抽查位置应覆盖结构的大部分区域以及不同连接形式的区域;
2 有损伤的梁柱节点和指定检测的梁柱节点,应全数检查;
3 当发现梁柱节点有影响结构承载力的严重缺陷时,应全数检测。
6.4.3 梁柱节点质量可按表6.4.3所列内容中出现的最低等级,评定为a级、b级、c级三个等级。
表6.4.3 货架梁柱节点质量等级评定
项目 | 级别 | ||
a级 | b级 | c级 | |
挂片尺寸与定位 | 基本满足设计要求,不大于允许偏差 | 不满足设计要求,不大于允许偏差的2倍 | 不满足设计要求,大于允许偏差的2倍 |
焊缝连接 | 基本满足《钢结构工程施工质量验收规范》(GB 50205)要求,无开裂,无锈蚀 | 不满足《钢结构工程施工质量验收规范》(GB 50205)要求,有影响节点性能的缺陷,轻度锈蚀 | 不满足《钢结构工程施工质量验收规范》(GB 50205)要求,变形裂损,锈蚀严重 |
螺栓连接 | 基本满足《钢结构工程施工质量验收规范》(GB 50205)要求,螺杆无断裂、螺帽无松动无脱落 | 不满足《钢结构工程施工质量验收规范》(GB 50205)要求,螺杆无断裂、螺帽有松动有脱落 | 不满足《钢结构工程施工质量验收规范》(GB 50205)要求,螺杆有断裂、螺帽有松动有脱落 |
安全插销 | 安全插销安装到位 | 安全插销有脱出趋势 | 安全插销缺失 |
安装偏差 | 挂齿插入完全立柱孔,紧密牢固 | 挂齿部分插入立柱孔,有脱出趋势 | 挂齿从立柱孔中脱出,虚挂 |
变形与损伤 | 挂片与挂齿无变形无损伤 | 挂片或挂齿轻微变形,挂齿有掰弯趋势 | 挂片或挂齿严重变形,挂齿根部开裂 |
节点腐蚀 | 见第5.6节 | 见第5.6节 | 见第5.6节 |
6.5.1 柱脚节点的检测内容应包括:底板尺寸与定位、垫片尺寸与定位、焊缝连接、螺栓连接、地坪锚栓、变形与损伤、节点腐蚀状况。
6.5.2 柱脚节点检测的抽样应符合下列规定:
1 检测比例不应少于同类节点数的2%,且不应少于3个节点,抽查位置应覆盖结构的大部分区域以及不同连接形式的区域;
2 有损伤的柱脚节点和指定检测的柱脚节点,应全数检查;
3 当发现柱脚节点有影响结构承载力的严重缺陷时,应全数检测。
6.5.3 柱脚节点的地坪锚栓应符合相应设计标准的规定。当无设计标准时,可参照表6.5.3。
表6.5.3 货架柱脚节点技术标准
螺栓直径(mm) | M8 | M10 | M12 | M16 | M20 |
最小预紧力矩(N·m) | 20 | 30 | 40 | 80 | 150 |
最小埋深(mm) | 65 | 80 | 95 | 115 | 140 |
最小实测抗拔力(kN) | 3.6 | 5.7 | 7.3 | 11.4 | 16.2 |
6.5.4 柱脚节点质量可按表6.5.4所列内容中出现的最低等级,评定为a级、b级、c级三个等级。
表6.5.4 货架柱脚节点质量等级评定
项目 | 级别 | ||
a级 | b级 | c级 | |
底板尺寸与定位 | 基本满足设计要求,不大于允许偏差,底板扭转幅度不超过边长1/10 | 不满足设计要求,不大于允许偏差的2倍,底板扭转幅度不超过边长1/5 | 不满足设计要求,大于允许偏差的2倍,底板扭转幅度大于边长1/5 |
垫片尺寸与定位 | 基本满足设计要求,垫片覆盖立柱截面区域 | 不满足设计要求,立柱超出垫片覆盖区域 | 不满足设计要求,垫片缺失导致底板悬空 |
焊缝连接 | 基本满足《钢结构工程施工质量验收规范》(GB 50205)要求,无开裂,无锈蚀 | 不满足《钢结构工程施工质量验收规范》(GB 50205)要求,有影响节点性能的缺陷,轻度锈蚀 | 不满足《钢结构工程施工质量验收规范》(GB 50205)要求,变形裂损,锈蚀严重 |
螺栓连接 | 基本满足《钢结构工程施工质量验收规范》(GB 50205)要求,螺杆无断裂、螺帽无松动无脱落 | 不满足《钢结构工程施工质量验收规范》(GB 50205)要求,螺杆无断裂、螺帽有松动有脱落 | 不满足《钢结构工程施工质量验收规范》(GB 50205)要求,螺杆有断裂、螺帽有松动有脱落 |
地坪锚栓 | 满足第6.5.3节要求 | 不满足第6.5.3节要求但无损坏 | 不满足第6.5.3节要求且有损坏 |
变形与损伤 | 所有组件无损坏 | 组件有轻微损坏 | 组件损坏严重 |
节点腐蚀 | 见第5.6节 | 见第5.6节 | 见第5.6节 |
6.6.1 节点试验,应根据设计、制作、安装、使用条件等,选择有代表性的节点进行。
6.6.2 下列情况应通过节点试验进行评定:
1 按现有计算手段尚不能准确做出评定;
2 验算缺少应由的参数,如约束条件、荷载取值等;
3 需要确定节点的实际承载能力。
6.6.3 根据要求节点试验可分为下列三类:
1 确定节点正常工作状态下工作性能的验证性试验;
2 确定节点设计承载能力的承载力试验;
3 确定节点极限承载能力的破坏试验。
6.6.4 对节点可进行原型或足尺模型荷载试验,试验方案可按附录A制定,并应在试验前征得有关各方同意。节点模拟试验,可以从原结构中取样,也可以按照节点的实际尺寸另行加工试样。从结构中取样时应确保原结构的安全;另行加工试样时应保持与原节点的相似性。
6.6.5 对节点进行试验难以模拟实际受力状态时,应采用数值方法模拟节点的受力性能。数值模拟应采用成熟的有限元软件进行,并应考虑节点的主要损伤和缺陷。

本站的原创文章,请转载时务必注明出处:稳图WESAFE,不尊重原创的行为我们将追究责任。

